MLAB
library
svnkaklik
MLAB_E
8magsvn
Català-Valencià – Catalan
中文 – Chinese (Simplified)
中文 – Chinese (Traditional)
Česky – Czech
Dansk – Danish
Nederlands – Dutch
English – English
Suomi – Finnish
Français – French
Deutsch – German
עברית – Hebrew
हिंदी – Hindi
Magyar – Hungarian
Bahasa Indonesia – Indonesian
Italiano – Italian
日本語 – Japanese
한국어 – Korean
Македонски – Macedonian
मराठी – Marathi
Norsk – Norwegian
Polski – Polish
Português – Portuguese
Português – Portuguese (Brazil)
Русский – Russian
Slovenčina – Slovak
Slovenščina – Slovenian
Español – Spanish
Svenska – Swedish
Türkçe – Turkish
Українська – Ukrainian
Oëzbekcha – Uzbek
Subversion Repositories
svnkaklik
(root)
/
/
dokumenty
/
skolni
/
PRA2
/
Mikrovlny/
@ 1134
– Rev 1175
Rev
Search
Rev 969
|
Last modification
|
Compare with Previous
|
View Log
|
Download
Last modification
Rev 971 2012-05-28 17:01:09
Author:
kaklik
Log message:
oprava protokolu.
Path
Last modification
Log
Download
data/
969
4910 d 6 h
kaklik
Log
Download
data.ods
781
5322 d 5 h
kaklik
Log
Download
hrana.png
971
4898 d 11 h
kaklik
Log
Download
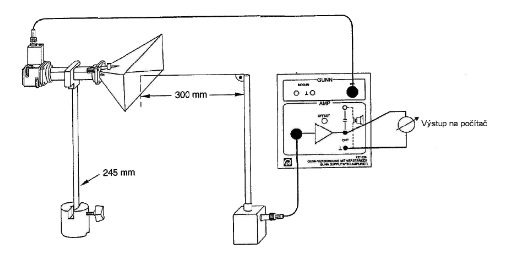
mikrovlnna_aparatura.png
968
4916 d 5 h
kaklik
Log
Download
mikrovlny.pdf
971
4898 d 11 h
kaklik
Log
Download
mikrovlny.tex
971
4898 d 11 h
kaklik
Log
Download
Mikrovlny_zadani.pdf
941
4961 d 12 h
kaklik
Log
Download
obrpole.jpg
781
5322 d 5 h
kaklik
Log
Download
pasek.png
971
4898 d 11 h
kaklik
Log
Download
plot.gp
971
4898 d 11 h
kaklik
Log
Download
podelny_rez.png
971
4898 d 11 h
kaklik
Log
Download
podelny_rez.txt
781
5322 d 5 h
kaklik
Log
Download
polarizace.png
971
4898 d 11 h
kaklik
Log
Download
polarizace_horizontalne.png
971
4898 d 11 h
kaklik
Log
Download
pricny_rez.png
971
4898 d 11 h
kaklik
Log
Download
sterbina.png
971
4898 d 11 h
kaklik
Log
Download
sterbina.txt
971
4898 d 11 h
kaklik
Log
Download
stojata_vlna.png
971
4898 d 11 h
kaklik
Log
Download
stojata_vlna_deska.png
971
4898 d 11 h
kaklik
Log
Download
usporadani_polarizace.png
968
4916 d 5 h
kaklik
Log
Download
zapojeni_zesilovace.png
968
4916 d 5 h
kaklik
Log
Download