Subversion Repositories svnkaklik

Rev

Rev 889 | Last modification | Compare with Previous | View Log | Download

Last modification

Path Last modification Log Download
[NODE][NODE][NODE][NODE][NODE][NODE] [DB-FILE] blokove_schema.png 872  5172 d 3 h kaklik Log Download
[NODE][NODE][NODE][NODE][NODE][NODE] [DB-FILE] GP2_PCB.png 890  5160 d 4 h kaklik Log Download
[NODE][NODE][NODE][NODE][NODE][NODE] [DB-FILE] MLAB_kablik_2x1m.png 887  5160 d 8 h kaklik Log Download
[NODE][NODE][NODE][NODE][NODE][NODE] [DB-FILE] PIC18F4550.png 887  5160 d 8 h kaklik Log Download
[NODE][NODE][NODE][NODE][NODE][NODE] [DB-FILE] program.png 872  5172 d 3 h kaklik Log Download
[NODE][NODE][NODE][NODE][NODE][NODE] [DB-FILE] prototyp1.jpg 872  5172 d 3 h kaklik Log Download
[NODE][NODE][NODE][NODE][NODE][NODE] [DB-FILE] prototyp2.jpg 872  5172 d 3 h kaklik Log Download
[NODE][NODE][NODE][NODE][NODE][NODE] [DB-FILE] prototype2.png 872  5172 d 3 h kaklik Log Download
[NODE][NODE][NODE][NODE][NODE][NODE] [DB-FILE] RG174.png 887  5160 d 8 h kaklik Log Download
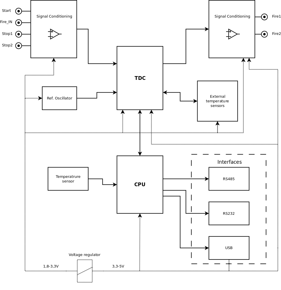
[NODE][NODE][NODE][NODE][NODE][NODE] [DB-FILE] TDC_block.png 872  5172 d 3 h kaklik Log Download
[NODE][NODE][NODE][NODE][NODE][NODE] [DB-FILE] TDC_fire.png 872  5172 d 3 h kaklik Log Download
[NODE][NODE][NODE][NODE][NODE][NODE] [DB-FILE] TDC_mode1.png 872  5172 d 3 h kaklik Log Download
[NODE][NODE][NODE][NODE][NODE][NODE] [DB-FILE] TDC_mode2.png 872  5172 d 3 h kaklik Log Download
[NODE][NODE][NODE][NODE][NODE][NODE] [DB-FILE] TDC_principle.png 872  5172 d 3 h kaklik Log Download
[NODE][NODE][NODE][NODE][NODE][NODE] [DB-FILE] TDC_principle2.png 872  5172 d 3 h kaklik Log Download
[NODE][NODE][NODE][NODE][NODE][NODE] [DB-FILE] TDC_tempereature.png 872  5172 d 3 h kaklik Log Download
[NODE][NODE][NODE][NODE][NODE][NODE] [DB-FILE] TTLPECL01A_PCB.png 878  5169 d 4 h kaklik Log Download