Rev 4962 – kaklik – 2545 d 13 h (2019-04-19 17:42:10)
Renaming HAM Constructions directory to allow import on github.
Subversion Repositories
–
MLAB
MLAB
library
svnkaklik
MLAB_E
8magsvn
Català-Valencià – Catalan
中文 – Chinese (Simplified)
中文 – Chinese (Traditional)
Česky – Czech
Dansk – Danish
Nederlands – Dutch
English – English
Suomi – Finnish
Français – French
Deutsch – German
עברית – Hebrew
हिंदी – Hindi
Magyar – Hungarian
Bahasa Indonesia – Indonesian
Italiano – Italian
日本語 – Japanese
한국어 – Korean
Македонски – Macedonian
मराठी – Marathi
Norsk – Norwegian
Polski – Polish
Português – Portuguese
Português – Portuguese (Brazil)
Русский – Russian
Slovenčina – Slovak
Slovenščina – Slovenian
Español – Spanish
Svenska – Swedish
Türkçe – Turkish
Українська – Ukrainian
Oëzbekcha – Uzbek
(root)
/
Designs
/
HAM_Constructions
/
HF_TRAMP
/
DOC
/
HTML
/
HF_TRAMP_Files
/
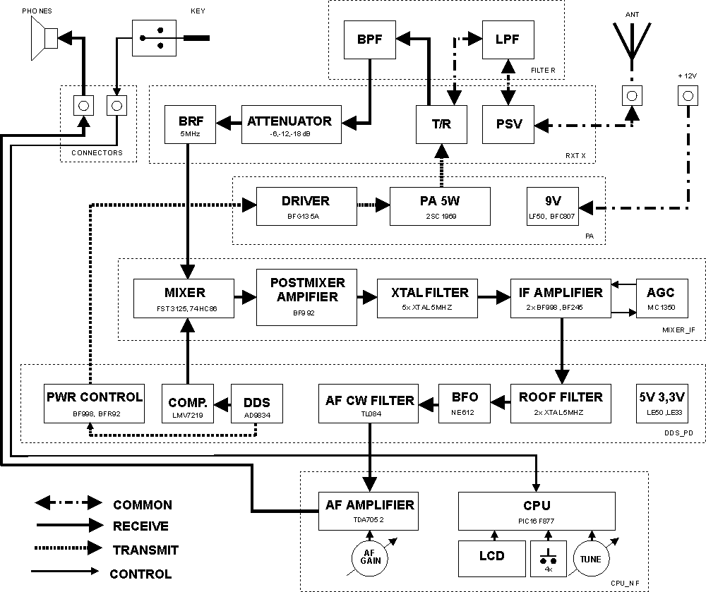
image002.png
Rev 4962
Show changed files
Details
Blame
Compare with Previous
From rev:
To rev:
Max revs:
Search history for:
Rev
Age
Author
Path
Log message
Diff
4962
2545 d 13 h
kaklik
/Designs/
Renaming HAM Constructions directory to allow import on github.
Diff
952
6666 d 22 h
miho
/Designs/
Sekce /Designes/Texts - doplněna metadata, restrukturalizace
Diff